GM Patents A 'Daisy Chain' Charger To Juice Up Multiple EVs At Once

Public electric vehicle charging is constantly getting better, with fast-charging stations being installed in more and more areas. However, the problem of having to wait in long lines still persists. I watched the entire second season of "Fallout" on my phone while waiting at various Electrify America stations in February. But GM may have just figured out a way to help mitigate charging wait times, by allowing multiple EVs to use the same charger at once. 

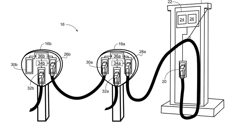
A new patent filed by GM, and unearthed by GM Authority, shows a main DC fast-charger being hooked up to multiple low-power access points (LPAP), connected in a daisy chain. The idea is that the main DC charger can send power to those LPAPs, which can then each charge an EV. The patent drawings show one DC fast charging juicing up two different EVs that are connected to LPAPs, which would theoretically double the amount of charging spots. 

The charging station could choose which cars get charged first

According to the patent, each LPAP has three plugs: one that goes to either the DC charger or the previous LPAP in the series, one that charges the car, and one that goes to the next LPAP in the series. Each LPAP is also fitted with controllers that communicate with both the car and the main DC charging station. They can determine each EV's state of charge and battery voltage, so that the DC charger can prioritize how to distribute power to the multiple EVs. The system could potentially figure out the fastest way to get the cars charged, by prioritizing the cars with the highest voltages. Or maybe send the majority of its power to a car that's running desperately low, until it reaches a certain point and then distribute it more evenly. 

At the moment, the fastest public DC charging stations you can find are capable of 400 kW charging. There are plenty of new EVs are capable of receiving 350 kW or higher, but 150 kW is the most common fast-charging speed. So, with GM's potential technology, could one 350-kW DC station charge two electric vehicles at around 150 kW each? If so, I think many customers would happily take that, rather than wait for a sole full-power charger to become available. 

Recommended