Holy Crap This Studebaker Taillight May Be One Of The Best Taillights Ever
We may receive a commission on purchases made from links.
I usually like to spread my deeply strange taillight content out a bit more, but sometimes one pokes at the hidden mountain of weird taillights and causes a glorious avalanche, which, in this case, is an avalanche of one more weird taillight. But oh man, is it a good one. My fellow dorks, allow me to introduce you to the Studebaker Wig-Wag taillight.
Everything about the Wig-Wag Signal Light feels like a goofy novelty item — the name, the design, what it does — but it was actually created to be a safety accessory, and, really, I think it actually does improve safety.

Let's just look at that light there: It's basically a very normal-for-the-era-looking taillight, along with what looks like a sub-scale railroad-style red lantern hanging below it.

It sort of makes sense — railroad lanterns are why taillights are red in the first place, after all.
This Wig-Wag Signal light seems to have been built by Safety Signal Devices, Inc. but was sold as an official Studebaker accessory, under the Studebaker name starting in 1935, for 1936 model year cars.
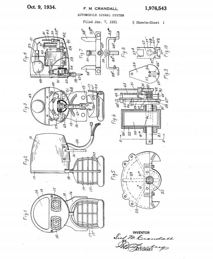
If we look up the patents listed there, we see that they were filed in 1931, by someone named F.M. Crandall:

The patent also shows the main taillight having a pair of lamps that spell GO, but it's not clear what the function of those are.
What makes these really exciting is that, via a vacuum system similar to what drove vacuum-powered windshield wipers back in the day, when the brakes are pressed not only does the lantern illuminate with a warm red glow, but it also waves back and forth like a ghostly railroad worker was signaling for attention! Here, look:
What's not to like about that? It feels like a dog wagging its tail. It's great. Let's watch another one!
Oh yeah, good stuff. If we consider the context of the state of taillightery of the era, where only one was still required (illuminated turn signals weren't offered until 1939, and dual tail/brake lights weren't required until the early 1950s) and the size and brightness of those brake lights was usually pretty minimal, then a moving, extra red brake lamp had to improve the visibility of a braking car, no question.
They're sort of like the predecessor to progressive brake lamps, which flash with more intensity when braking is more dramatic.
These lights seem to be reasonably well-known in the vintage Studebaker community, which is, admittedly, a pretty niche part of the greater automotive subculture.
Looking through their forums, you can see examples of cheap knockoff wig-wags and people attempting to restore original ones:

Aside from a late-'60s Chevy concept car, I can't think of any other car that has brake lamps that physically move, which is sort of a shame. Think of the possibilities of physically moving lamps! And, of course, the needless complexity and extra repair costs and all that. But still!
It doesn't look like these moving lamps are illegal, as the current regulations don't seem to even somehow consider the possibility of waving or wagging lamps, so if you feel like blowing a bunch of money for one on eBay, I bet you could install it on your RAV4 or whatever without fear of getting pulled over.
Maybe? It'll be worth it, I promise!