Toyota Could Do Something Revolutionary With This Vehicle-To-Vehicle Energy Transfer Patent
Imagine if your vehicle could charge another vehicle the same way a wireless charger powers your phone.
Earlier today, we gave Toyota some much-needed ribbing about its lack of interesting electric vehicle technology after its new battery-electric vehicle platform did absolutely nothing of note. But a patent for wireless vehicle-to-vehicle energy transfer could actually change the way we perceive EVs.
Toyota filed the patent on October 21, 2021 from its Plano, Texas headquarters, and it defines the EV tech as such:
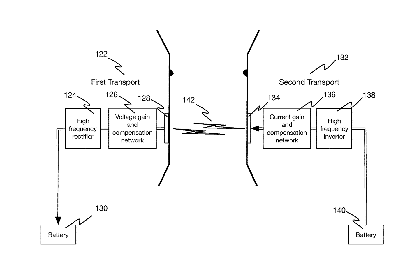
An example operation includes one or more of establishing first wireless connection between a first transport in motion and a second transport in motion, receiving an energy transfer request over the first wireless connection from the first transport to the second transport, establishing a second wireless connection from an energy interface on the second transport to an energy interface on the first transport, and transferring an amount of energy via the second wireless connection based on the request.
Or, to put that in simple, normal human terms: one vehicle charges another while both moving.
If you need an example to truly visualize this, I don't blame you. So, picture this: You're driving an all-electric Toyota Prius of the future, you're running out of battery, and you either don't want to stop for a charge, or you aren't near a charger. You'd just send out an energy transfer request that could be picked up by a second vehicle, maybe the Lexus LF-Z concept come to life. The Lexus could accept the Toyota's call for help and somehow provide some battery life via a wireless connection.
Toyota also notes that there's a future where the cars could just put out a request for energy without the driver knowing. In both cases, though, one car is able to charge another.

The patent is looking pretty far into the future with this technology, since it makes a lot of presuppositions. For example, in order for the two cars to charge back and forth, they'll need to match speeds and stay in line with next to each other, which is challenging. Toyota hedges that location placement could change in the future, and I can imagine that the ability to charge the Prius while driving nose-to-tail with the Lexus would be a lot easier than having the Prius and the Lexus cruising alongside each other.
Toyota also notes that, to enact this technology, we'll need a kind of blockchain database that can read traffic flow and determine how long a charge will take before it makes a successful connection. So if you're cruising along and everyone with available battery is speeding by you 20 mph faster — or if you're stuck in a slower lane of traffic — then you're probably not going to find a successful charge partner.
And as for the actually charging technology itself, Toyota doesn't give many hints as to development. It's possible that a very powerful wireless charger capable of charging a vehicle in motion could be built in the future, but it doesn't exist right now.
But the concept, as it currently stands, is a fascinating one. Imagine a world where you can charge your EV without actually stopping and without needing to repave all the world's roads with charging roadways. That's a pretty sweet deal.
H/T Carbuzz