The Latest Tool In The New Ford F-150's Tool Box May Be A Range-Extending Engine
New patent images appear to show the upcoming all-electric Ford F-150 pickup truck may be available with the option of a bed-mounted range-extending engine.
The patent, as initially reported and speculated on by The Drive, features images detailing various sizes and configurations of a design for an interchangeable range-extending engine that can be mounted in the bed of a pickup truck in a similar fashion to a traditional tool box truck accessory.
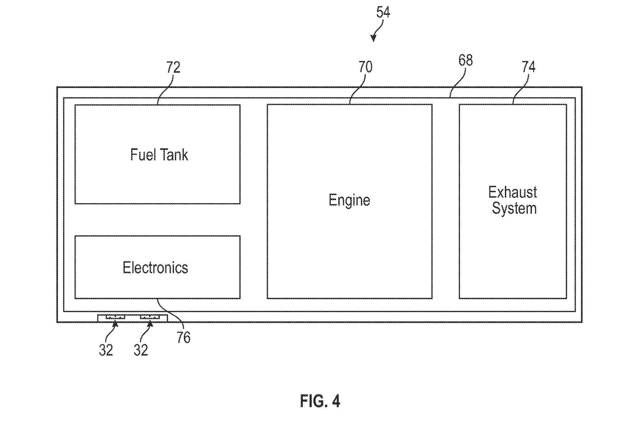
The diagram in "Figure 4" of the patent filing references what appears to be a tiny, tiny engine mounted with an exhaust unit, fuel-tank and computer board in the range-extender unit. The trouble is, what exactly could that little "engine" be? From The Drive:
In this layout, most of the pack is taken up by the engine, but that raises the question of what sort of engine would be used for the swappable, range-extending generators. The smallest engine Ford makes is its 1.0-liter EcoBoost, which is still big by range-extender standards. With three cylinders and 123 horsepower, it would be overkill. BMW's range extender in its i3 compact, for instance, is a 650cc twin-cylinder scooter engine producing only 34 horsepower.
The Drive has yet to find any other patent documents relating to such a small engine in development. It's possible that Ford hasn't posted any patents for it, or that it will approach an outside company to engineer it for them. Other Ford patent documents related to range extenders do not specifically cite gasoline as the fuel, either. A range-extender like this could theoretically be fueled by diesel, a high-alcohol gasoline mixture like E85, or even a hydrogen fuel cell.
You may think one major benefit to electrifying the iconic Ford F-150 pickup truck would be the packaging advantages and added available volume by getting rid of the clunky, noisy, smoky gas engine under the hood.

So to add a little, presumably gas engine generator back in as a range-extending powertrain just seems to make things... complicated. This must mean that Ford is having range and/or performance anxiety over its recently-teased and all-new all-electric F-150 pickup.
There are other significant potential benefits to equipping what's essentially likely just a gas generator to the bed of your pickup, as the patent diagrams appear to show is the hypothetical plan. Suddenly you have a power source no bigger than a tool box easily accessible and highly mobile right in the bed of your truck.
The patent even makes a point to note the unit is swappable or interchangeable—though that may be more of a dealer service job than a user-friendly power unit, we'll have to wait and see. Regardless, it's pretty clever, and would likely ease any customer anxiety about plugging power-draining work equipment into the truck's battery juice alone without the reassurance of readily-available fuel-based combustion as a backup.
Does this mean we could potentially get a gas F-150, plug-in hybrid F-150, range-extending optioned electric F-150, and a full-electric F-150 in the lineup in the next few years? Yes. Is that ridiculous? Well, no. Have you seen F-150 sales? Now the real question: would this range-extender count as a mid-engine truck?