The Karma SC2 Appears To Have Koenigsegg's Door Mechanism
Karma unveiled their SC2 at the Los Angeles auto show a couple of months ago and I forgot it existed immediately after seeing it. Yesterday, looking back through my pictures from the show, I remembered there was one thing that caught my attention: The door mechanism looks the same as the mechanism Koenigsegg uses.
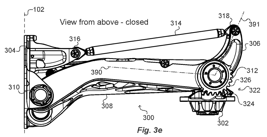
There is a name for this mechanism that Christian von Koenigsegg insists that you use. It is the "dihedral synchro-helix actuation system," but I'm not going to use that name since it's pretentious nonsense.

The KoenigDoor mechanism is pretty great: a relatively simple mechanism that is comprised of a four-bar link and two perpendicular helical gears. As the four-bar linkage moves, it causes the gears to rotate relative to each other. This makes the door to rotate as the linkage moves it away from the car. It's cool because you get a complex movement with only one degree of freedom.

Looking at the Karma, you can clearly see two perpendicular gears in the same orientation as the Doorigsegg System. There also appear to be two separate links connecting the door to the body, one carrying the load and one controlling the motion.

It could be a variation on the KoenigDoor mechanism, but it's hard to imagine any change to the original system that wouldn't add cost and complexity without any gain in functionality. Although Koenigsegg does hold a patent on their Dihedral Slidey-Rotatey Actuation System, and they may not want to share, so its possible Karma is adding unnecessary complexity to avoid patent royalties or infringement.

I asked the corporate representative man standing next to the car if it was the same mechanism that Koenigsegg uses, and he said "No, I think we developed that in-house," in a way that made me sure that he didn't know. Karma calls them "multi-hinged scissor doors" that are "Inspired by the aviation and space industries that surround us in our Southern California home."
Are they? Or are they "inspired" by obnoxiously named Swedish supercar doors?
I reached out to Karma for clarification and will update this if I hear back.