New Toyota Patent Lets Your Autonomous Car Decide When It Wants A Wash
We've reached the next logical step in autonomous evolution. On Christmas Eve, the United States Patent and Trademark Office released a patent filed by Toyota that will allow your car to sense that it's dirty and then head off to the car wash without any human input at all.
I am personally guilty of letting my car collect a layer of grit and grime before finally cleaning it off. That's because I'm lazy. And since autonomous cars are designed to eliminate that lazy human error factor, I suppose it makes sense that a company would get ahead of the game.
Here's the abstract from the official patent:
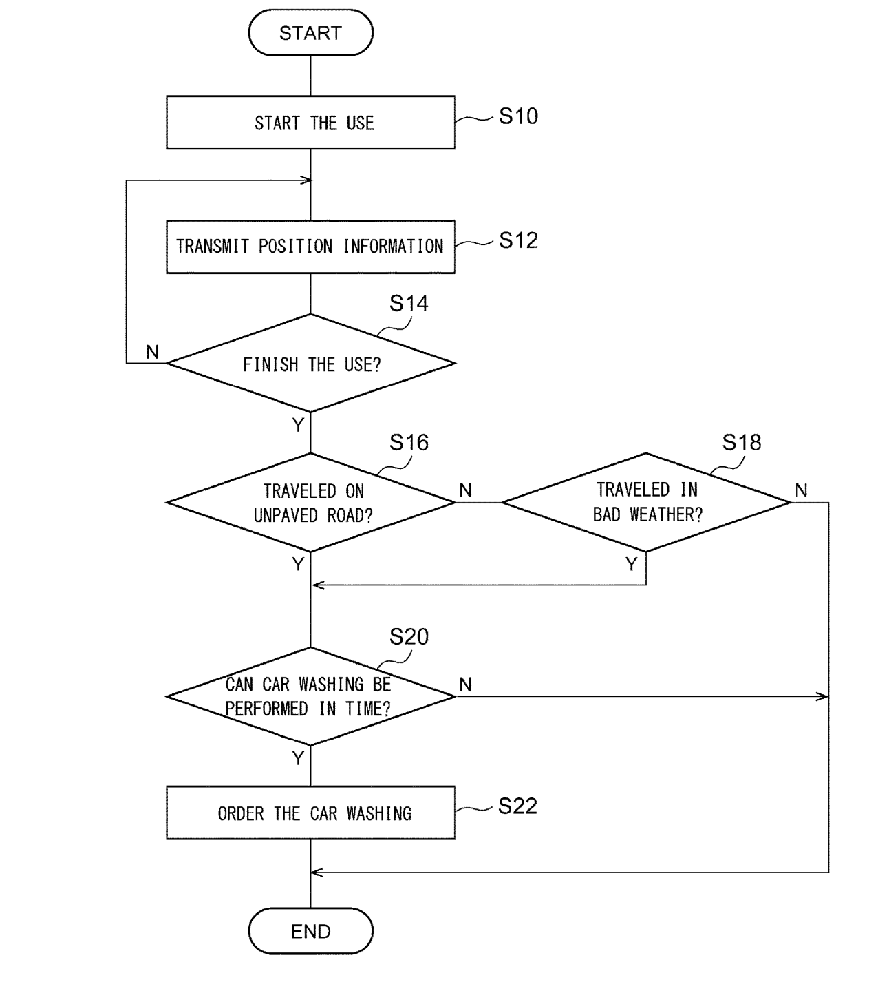
In a car wash judgement system, an acquirer acquires traveling information of a vehicle. A condition retaining unit retains a certain car wash condition. A judgement unit judges whether or not traveling information acquired at the acquirer satisfies the certain car wash condition. An unpaved road information retaining unit retains unpaved road information indicating of an unpaved road. The certain car wash condition includes traveling on an unpaved road by the vehicle. When a vehicle that has transmitted traveling information is an automated driving vehicle capable of performing automated driving and when the traveling information of the automated driving vehicle satisfies the car wash condition, a car wash instruction unit transmits an instruction signal for moving the automated driving vehicle to a car wash station.

Basically: your car can sense when it has driven on an unpaved, dirty road or in bad weather. It then alters the car wash, and the car wash lets your Toyota know it can cruise in for a clean up.
The patent includes a lot of handy diagrams that explain the thought process here, but don't worry—if you have somewhere to be, your car won't take a lengthy detour. It can factor the wash time into the journey, see if there's enough time to complete it before the driver has to be somewhere, and make a decision. If you're pressed for time, your Toyota will bypass the washing operation and wait for a more ideal time.

Autonomous cars aren't actually a thing yet (at least, not in terms of safe and effective full self-driving), but Toyota is already anticipating some of the tougher questions. Autonomy will likely change the way we interact with our cars—if they're more of an impersonal public transit tool than an object you build a close relationship with, maintenance is likely going to become a thing of the past. (After all, how many of you go out of your way to clean the subway?)
It's a fascinating proposal. We'll have to see if it pans out.