Mazda Has Filed A Patent Application For A RWD Rotary Hybrid
The patent focuses on keeping a motor-and-engine package cool
Enthusiasts have long awaited the return of the rotary engine. Since its death alongside the RX-8, the Wankel faithful have all but begged Mazda to resuscitate the Dorito-based engine layout. Until now, their cries had only been met with the promise of rotary range extenders in EVs, but a new patent filing from the company shows a rotary-electric hybrid that still drives the wheels with gas. Even better: the wheels being driven are in the rear.
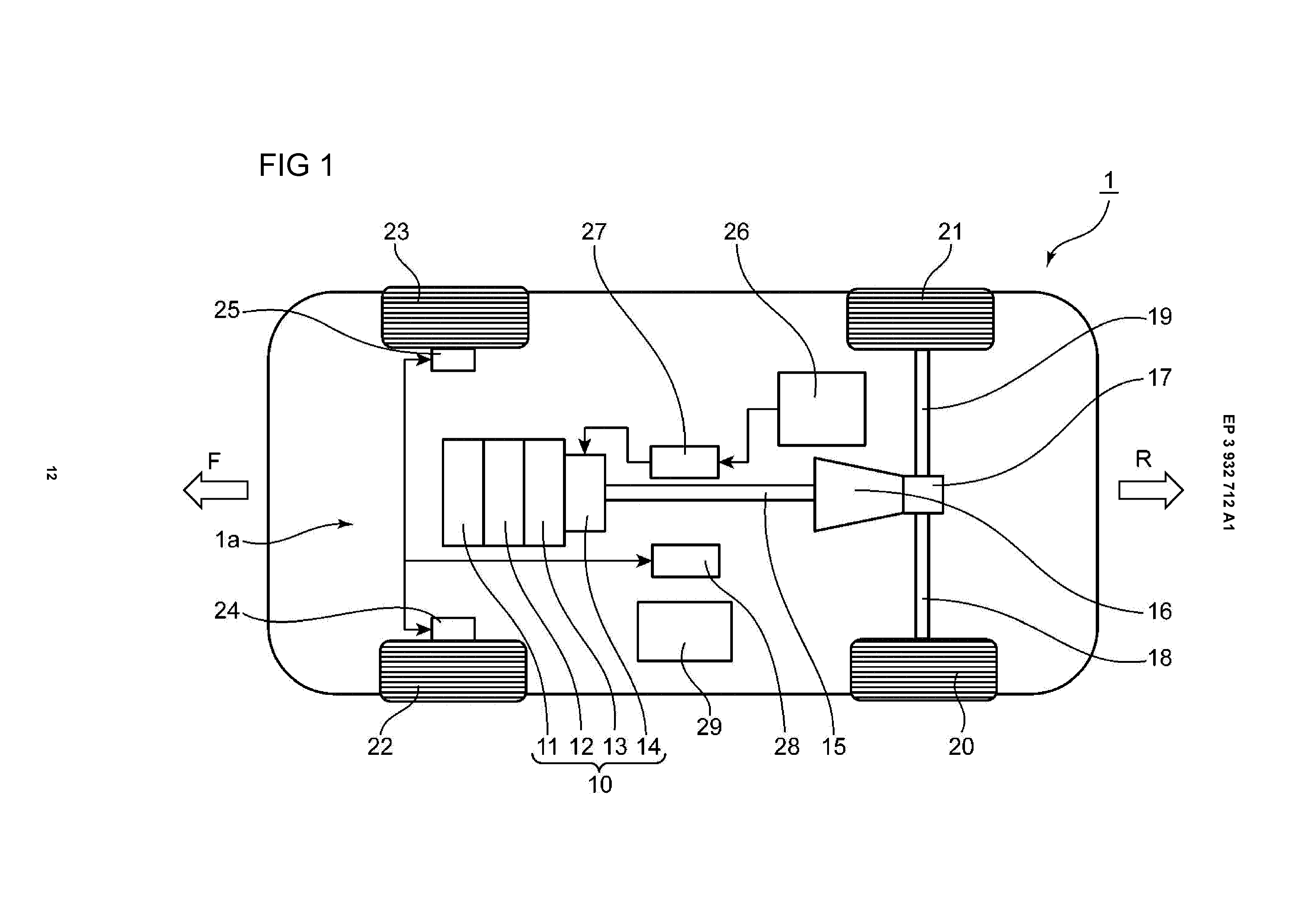
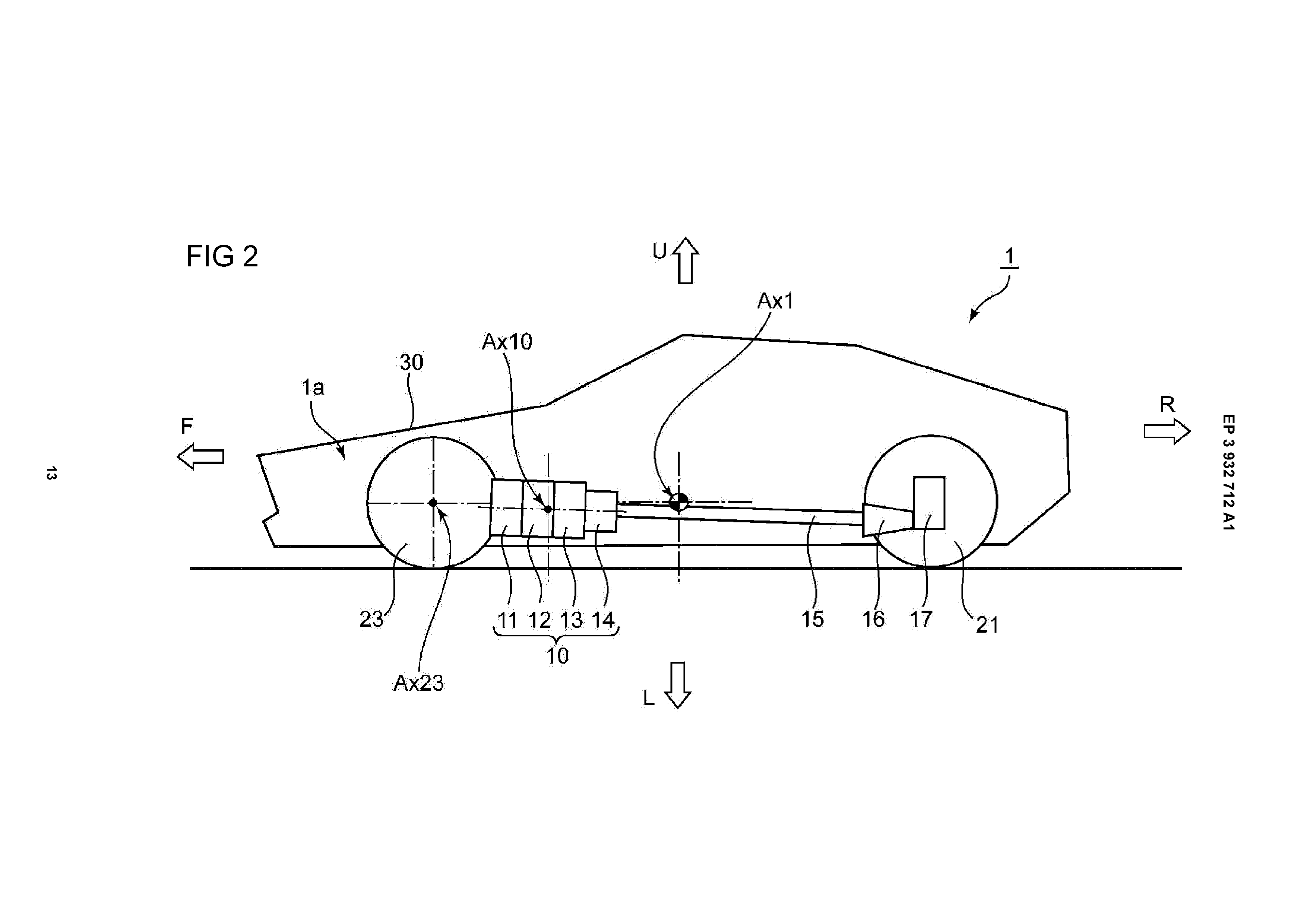
The patent may primarily focus on the cooling system for this rotary-electric design, but it's also very explicit about the layout for which this packaging is intended: Front engine, rear-wheel-drive. While the car in the patent sketch, with its Lancia Scorpion looks, seems unlikely to ever see production, that FR layout appears to be here to stay.

Interestingly, the patent also seems to call for something Mazda hasn't built since the Cosmo: a three-rotor Wankel. In the image above, the group of boxes labelled "10" is defined as the drive unit, including "one or more engines 11 to 13 and a motor 14." A three-rotor hybrid, with a rear-wheel-drive layout, would be an incredibly interesting entry into Mazda's current lineup.
Perhaps even more interesting, however, is the seemingly boring core purpose of the patent: Cooling. EV makers have been experimenting with different cooling methods, but a beefed-up system for dissipating heat could also fix one of the greatest issues with rotary engines.

Because of the Wankel engine's design, there's never a moment when the combustion chamber of the engine gets to relax and cool off. That buildup of heat has led to all sorts of issues, including dry-rotting of hoses in the engine bay. A Wankel that could run colder, with less heat spreading around the rest of the car, could see a much longer useful life — and maybe even some more power.
Of course, automakers file patents all the time, and the existence of some drawings on a page doesn't necessarily presage the immediate release of a related product. Still, it shows that Mazda hasn't quite given up on its Dorito-dusted history — and maybe the enthusiasts shouldn't either.