Ford Patent Hints At Completely Removable Bronco Roof
Removable roofs are a mixed bag. Sure, they're great for when it's warm and you want to cruise around in the sun, getting your daily dose of Vitamin D. But they're also notorious for not sealing well, and often difficult to remove without a couple of other people.
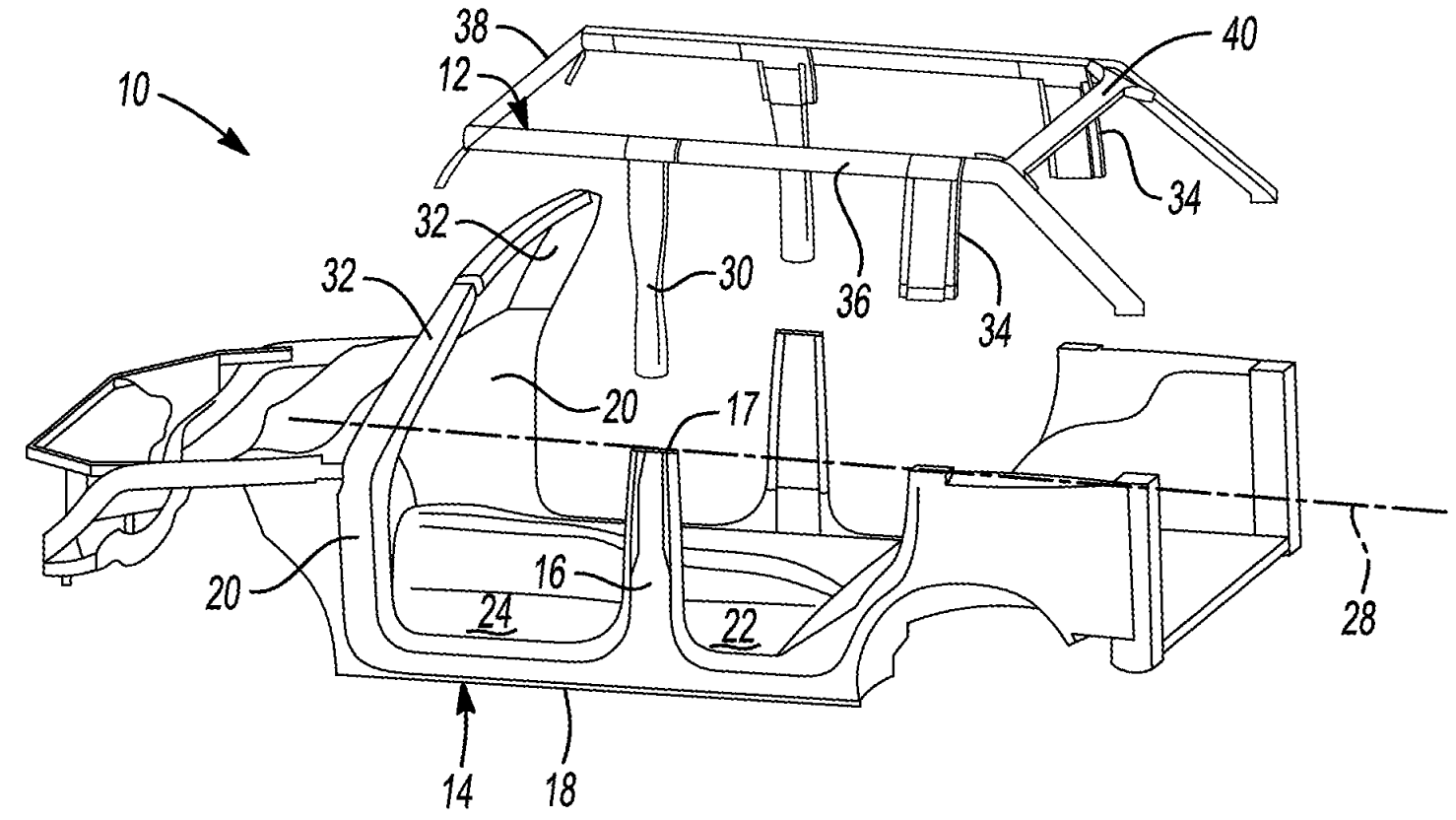
Recently approved Ford patent filings show a Bronco-like drawing with a completely removable roof structure. Patents are not the best way to guess at future product designs because companies like to just patent every possible thing. More than half of the patents I've been a part of have not yet seen production, and probably never will. Still, it's fun to speculate.

The patent in question shows the entire roof structure removable. The upper B, C, and D-pillars, roof bows, cant rails, airbags, everything. It isn't clear if the roof panels are separately removable from the structure, but this does lead to some questions.
If you can remove the panels and leave the structure, like the Jeep Wrangler, why would you also want to remove the structure? You don't really gain much openness and you lose a lot of safety. If the panels are attached to the roof and it is all removed as one piece, doesn't that make removing the roof much more difficult? You would probably need more fasteners to secure the structure, and it would definitely be heavier.
The patent details flanges, bolts, brackets and other fasteneing features that make it sound structurally adequate, but also heavy and complicated. If this comes to production, I'd be very interested to see how Ford makes all the sealing and structural connections work.
Also, a removable structure would decrease body stiffness. A body-on-frame design like this will be less affected structurally by losing the roof than a conventional body. Still, the patent does say that a detachable roof vehicle that "provides a similar structural stiffness is one of the challenges in this field." Removing the roof will probably lead to a reduced stiffness that makes NVH worse, but this slight change will probably be unnoticeable due to the fact that there is no roof.