BMW's New Steering Wheel Patent Is The Only Good Yoke
The triple-pivot system looks familiar. Too familiar.
Replacing perfectly good steering wheels with yokes is so hot right now. Tesla kicked off the current wave of fixing what ain't broke with the Model S Plaid, but even the traditionally conservative Toyota has jumped on the trend. Now BMW has entered the fray, with a novel take on the yoke that fixes its worst problems. It's the One Good Yoke, a design so meticulously though-out that it could only have come from entire minutes of dedicated pondering on the topic. I would know, because the design came straight from me.
Ages ago, in October of last year, a discussion about yokes came up on the Jalopnik slack. It was prompted by the reveal of the yoke in Toyota's bZ4X EV, and consisted mostly of the sentiment "Seriously, this is so bad, why do automakers keep doing this?" One visionary Jalop writer, however, solved the yoke problem forever with a revolutionary concept — I added more spinny parts.

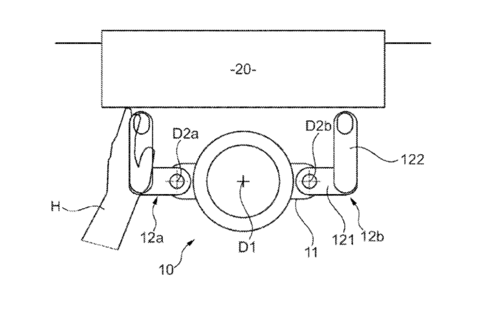
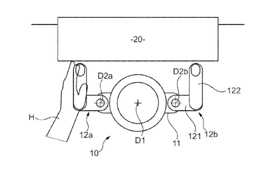
Letting the yoke's handles rotate independently of the steering column allows both hands to constantly maintain grip throughout all but the tightest turns. It may even be better than the hand-over-hand movement so popular in parking lots around the world. It's not merely an evolution of the yoke, but a revolution in vehicle control — one for which I am claiming full credit.
Now, I'm not directly accusing BMW of having a mole in the Jalopnik Slack, feeding all of our genius ideas back to Bavaria. I do, however, find it suspicious that this news broke just months after I first put pen to paper with this incredible idea. Do I care that the patent application was first filed in 2019, over a year before I drew this concept? I do not, and neither should the Department of Ideas.

I'll even say my drawing, with nearly three full dimensions and a perspective that sort of makes sense if you don't think about it, is far more informative than BMW's clear, two-dimensional patent drawing. Where are the confusing, curved arrows that do little to explain how objects rotate in relation to each other? Where's the soul?
I'm just now being informed by our producers that Nardi in fact beat me to this idea by a number of years, with the triple-spinning Two Spokes yoke design. You know, maybe this is all just convergent evolution. I'll still be seeking out the mole in our Slack, though. Just in case.